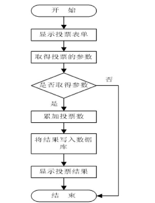
一、小程序投票制作的基本流程
挑选恰当的小程序渠道:开展相关事务时,首要任务是选定合适的小程序渠道。详细来说,能够借助微信进行检索,键入“投票生成”相关字眼,从中发掘那些性能完善、用户口碑较好的应用,例如“投票帮助小助手”等便是较为理想的选项。
进入小程序后,要先完成注册,按照提示一步步来。有些小程序提供微信直接登录的选项,用这个方法能省事很多,快速开始使用里面的各种功能。
平台会提供很多投票样式,包括各种评选和比赛类型,用户可以直接挑选适合的样式,也可以根据实际需要自行设计个性化样式。
设定投票的规范,要清楚投票的起止时刻,要详细说明每个人最多能投的票数,还要决定是否需要真实姓名的核实,以及处理其他相关问题。
上传内容包含选手或选项资料,可以选用文字、图片、视频等类型,并且能够随时调整。这些内容种类繁多,文字适合精确地提供详细信息,图片便于形象地展现相关事物,视频则有助于生动地演示活动过程。任何种类的素材都能让整体更加多彩和多元,用户可以随时根据自己的需要调整上传的内容,保证其一直符合实际状况和运用标准。

发布并传播,用心制作投票通道,设计吸引人的宣传图,或者生成容易识别的条形码,接着放到交流频繁的群组里,放到更新活跃的社交圈中,也放到有话语权的官方账号上。
二、常见投票小程序功能
1. 多类型模板:支持评选、竞赛、调查等多种场景。
2. 数据实时统计:后台自动记录票数,结果可视化展示。
一些小程序设有防刷票措施,比如通过IP地址管控和验证码验证,以此确保评选过程的公正性。这项功能依靠精确追踪和约束用户上网地址,并在重要操作步骤加入验证码,成功阻止了不法的票务刷取活动,保障了活动或投票过程的公平合理,让每位参与者都能在公正的条件下角逐,充分显露自己的真实水平,防止了刷票等违规行为损害活动的公正性和严肃性。
4. 多渠道分享:支持生成海报、嵌入公众号或投屏现场使用。

基础服务通常都是免费的,很多平台都允许用户免费使用基本功能。但是,一些更高级的功能,比如需要特别设计的服务,往往需要用户付费才能享受。这些高级服务通常是为了满足用户的个性化或者专业化的需求。
三、制作时的注意事项
1. 明确活动目的:根据需求选择模板,避免功能冗余。
测试步骤是这样的,正式上线前得先做小范围尝试。这个小范围尝试能仔细看看规则定得是否妥当,可以早点发现可能有的毛病,然后进行修改完善,这样等正式推出时,各项规则就能保持最好水平。
3. 版权问题:使用他人照片或视频时需获得授权。
活动页面需附上扼要指引,以便降低参与者的操作疑虑。具体而言,应采用浅显易懂的措辞,将活动步骤、规范等核心内容明明白白地展示在活动页面上。这样,参与者一查看页面,就能立刻清楚各项操作的意图和做法。如此一来,可以有效避免他们在活动期间遇到操作难题,确保活动能够顺顺当当地高效开展。
四、如何提升投票参与度

1. 设置奖励机制:如抽奖或排名奖励,吸引更多人参与。
2. 优化页面设计:简洁清晰的界面能提升用户体验。
3. 定期宣传:通过社交平台多次推广,扩大活动曝光。
实时互动,可以在投票页面加入讨论区,或者让数据即时变化,以此提升参与感。
总结
制作小程序投票并不难,选择合适的工具就行,再配合合理的规则设定,活动策划就能快速完成。关键是要根据参与者的要求,把细节调整好,同时要利用好分享途径,让活动传播得更广,这样才能保证活动顺利开展。
            
    
    
    
                
            
            
            
        
            
            
                QQ咨询
            
            微信咨询
            
            电话咨询
            
                顶部