一、微信公众号报名投票的基本流程
主办方用心设计了活动平台:在公众号管理端仔细布置了报名通道和投票区域,报名通道里包含了活动说明、参与条款、日程规划等基础内容,这些内容都表述得很清楚,目的是让报名者可以完整且无误地掌握活动情况,进而顺利地加入活动。
报名参加活动,人们可以点击公众号菜单里的指定按钮,或者通过文章里提供的网址,认真填写个人资料。信息提交后,要耐心等待审批环节,有些活动还会额外核查报名者的资格条件。
审核通过后,报名者就会出现在投票页面上。这时候,用户可以借助公众号成功找到投票入口,接着依照规定好的办法,比如每天投票次数有限制之类的条件,来进行投票。

活动结束后,系统会依照规定自动统计得票数。接着,主办方会通过公众号这个传播范围广的渠道,把最终排名或获奖名单公布出去,让所有参与者能及时准确地知道活动结果。
二、常见投票功能实现方式
微信自带的操作,能从公众号的菜单选项,直接导向外部的调查网站,例如腾讯问卷、金数据这类平台。
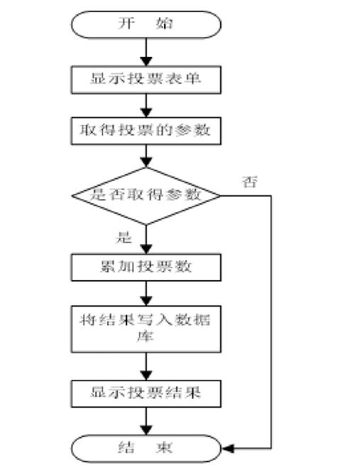
定制开发投票系统,可以用微信小程序或H5页面来实现,这种系统可以处理复杂的投票规则,比如设置投票分组,也能加入验证码来防止刷票行为。
借助“微盟”“凡科”这类平台,可以迅速建立投票活动。这些平台备有多种方便的功能,能帮助用户简便地设计出满足个人需求的投票形式。但是,必须留意,平台有些服务需要付费,用户在选用时要清楚费用细节,依照个人需求和财力,恰当使用资源,以便活动能顺利进行,同时有效管理开销。

三、提高参与度的运营技巧
设立奖励办法:给投票者准备抽奖活动,例如派发优惠凭证,让投票者在参与投票时能获得额外惊喜,或者对得票高的参与者给予实物奖励,以此吸引更多人参与投票。
跨平台协作:针对微博和抖音这两个广受欢迎的社交平台,周密部署宣传投票活动。在微博发布有吸引力的议题、视觉素材和文字内容,激发用户的关注和互动;在抖音制作有趣味的视频片段,呈现投票活动的精彩之处,借此有效将用户导向微信公众号,从而提升微信公众号的关注量与活跃度。
实时数据展示,在投票页面明确地显示实时排名状况,参与者可以随时掌握自己和他人的名次变化,从而有效增强竞争心理,推动参与者更踊跃地参与投票活动。
四、注意事项

规则公开,事先将投票的约束条件,包括IP识别、每日额度,都讲清楚,这样就能防止纠纷出现。
数据安全方面,操作时必须使用合法的第三方渠道,这些渠道需要经过仔细的考察和评判,保证它们拥有健全的信息安全措施,可以防止参与者私人资料被外泄,从而全面维护信息安全。
反作弊方法:启动验证码机制,把即时验证码发给参与投票者登记的手机号,必须准确录入验证码才能进行投票步骤,这样能够有效阻止机器人大量刷票。同时候,要防止一个装置反复参与投票,就是说,如果发现一个装置在短时间内多次想要投票,系统会自动认为这是不正常的动作,并且不批准投票的申请,这样做是为了保证投票过程的公平合理,也是为了维护投票结果的准确可信。
微信公众号的报名投票活动,在执行时,必须同时重视方便用户和保证公正,这是两项核心要求。在技术实现上,报名的步骤要简单清晰,用户能够轻松完成,投票的过程也要平稳顺畅,不能让参与者感到麻烦。从规则制定角度出发,需要以用户感受为中心进行周密考虑,务必使规则简单明了,确保用户可以明确了解活动如何参与以及怎样评判,防止产生含糊不清或者容易引起争论的条款。这时候,也要运用得当的推广方法,比如借助巧妙的宣传方式招徕更多人来加入,这样就能进一步增强活动的号召力,让活动可以在更广阔的圈子里得到关注和好评,最后实现想要的目标。
            
    
    
    
                
            
            
            
        
            
            
                QQ咨询
            
            微信咨询
            
            电话咨询
            
                顶部