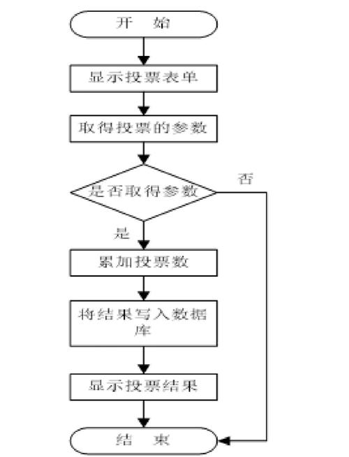
一、微信公众号投票的基本流程
要关注发起投票的公众号,通常有两种方法,一种是扫一扫公众号给的条形码,另一种是在微信里输入公众号的名字,找到它,然后点一下关注。
进入公众号后,要用心在选项中找到投票的途径,这些途径一般会标明"投票"、"活动"或"参与"等字样,以便让读者容易发现。
先进入投票界面,接着认真查看各位候选者的资料,了解他们的背景和长处,之后依据这些内容,审慎决定支持的人选,最后完成投票。
二、常见的投票规则设置
活动阶段,通常会规定具体的投票停止时刻,一旦超出这个时刻,就不再允许参与投票。

每天,各个微信账号投出的票数通常设有上限,这个上限多数在1到3张之间。
部分活动对投票人有明确约束,会划定地域界限,仅让某些区域的居民加入投票,其他地方的人则不被允许参与。
投票有明确的要求和界限,需要管理对某个人的支持频次,例如每日对同一个人最多点赞一次,这样做是为了维护投票的公正性,确保流程顺畅,防止某个参选者获得过多选票,从而保障整个投票过程合乎规范。
三、需要注意的事项
在投票结束之前,一定要认真查看活动要求,完全弄明白其中的各项规定和具体内容,千万不要疏忽,以免因为不清楚规则而造成投票作废,给自己增添没意义的苦恼。
2. 确保网络连接稳定,避免因网络问题导致投票失败。
要是操作时碰上技术故障,可以试试把公众号重新启动,也许麻烦就能化解。如果重新启动公众号后问题依旧没解决,可以联系主办方客服,把遇到的技术困难讲清楚,请求他们的专业帮助。

不能做任何违规行为,哪怕这种行为看起来很微小,也可能影响投票结果的准确性。一旦发生违规行为,就会破坏投票的公正性,进而导致投票结果不能真实表达大家的想法,其可信度也会降低。因此,一定要严格遵守规定,避免出现任何违规行为,以此来确保投票结果的可靠性。
四、投票活动的常见类型
各种评选活动络绎不绝,包括"人气王"、"魅力之星"之类的头衔。这些评选依靠民众支持、关注度等手段,从特定人群中选出最有影响力的人或物。它们既为参与者提供了展示能力与魅力的机会,又吸引了大量关注,成为了判断受欢迎程度的参照。
这类活动很常见,像“最受欢迎选手”和“最佳人气奖”就是这类活动的常见奖项,它们在各种评选中都扮演着关键角色。这些活动能够调动参与者的热情,激励他们不断进步,从而获得更多的认可和关注。对于整个活动或者相关领域来说,这些奖项也有助于制造热烈气氛,吸引更多人加入,促进其不断发展。
2. 作品评选类:如"最佳创意奖"、"最佳设计奖"等。
摄影比赛是活动的一部分,包括“最美校园”和“最美家乡”两个主题,前者让大家用相机记录校园的动人场景,比如校园里的花草树木和师生们的精彩瞬间,这些都可以成为镜头下的好照片;后者则鼓励人们发现家乡的美丽,无论是自然景色、历史建筑,还是普通人的生活状态,都可以通过摄影作品展现出来,让更多人了解家乡的特色。
4. 决策参与类:如对服务、产品等提出改进建议的投票。

五、提升投票参与度的技巧
可以在社交平台发布投票网址,这样有利于吸引更多人加入,提升参与广度。
2. 为候选人制作简单明了的宣传资料,方便传播。
3. 设置适当的投票奖励机制,提高参与积极性。
4. 定期公布投票进展,保持活动的关注度。
公众号投票是一种方便的交流手段,组织者可以通过合理的规则,保证活动过程的公平性。参与者也必须清楚规则和步骤,按要求投出重要的选票。组织者和参与者都应该认真遵守平台的规定,一起创造健康的网络投票氛围。
            
    
    
    
                
            
            
            
        
            
            
                QQ咨询
            
            微信咨询
            
            电话咨询
            
                顶部